Душова система KOHLMAN ROXIN CHROM з виливом
251106
-
QW277R
-
Немає в наявності
- Kohlman
-
Опис Душова система KOHLMAN ROXIN CHROM з виливом
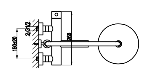
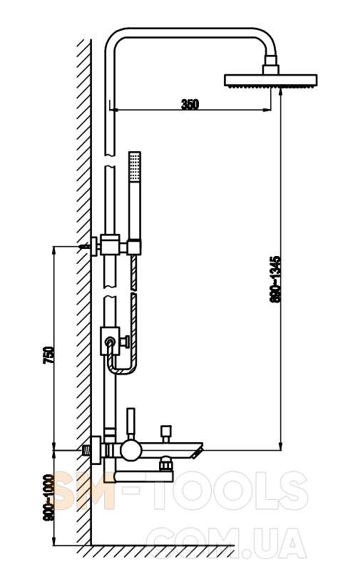
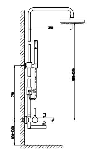
Представляємо якісну та багатофункціональну душову систему з виливом. Тропічний душ, розміром 20 * 20, і ручна лійка - виготовлені з латуні, це є головною перевагою. >Країна виробник : ПольщаСпосіб монтажу : зовнішній монтажВисота набору (см) : 89-134Матеріал : латуньКолір : хромДовжина шланга (см) : 150Наявність виливу : такТермостат : ніГарантія : 5 років
Душові системи Kohlman
Ціни на схожі товари
-25%
Душова система універсальна Qtap Gemini прихованого монтажу на три споживача QTGEM114CRM45702 Chrome
-30%


